30016-M3
30016-M3
P | M | K | N | S | H | O | |
---|---|---|---|---|---|---|---|
Main application
Additional application
|








Pakkestørrelse
1
Information
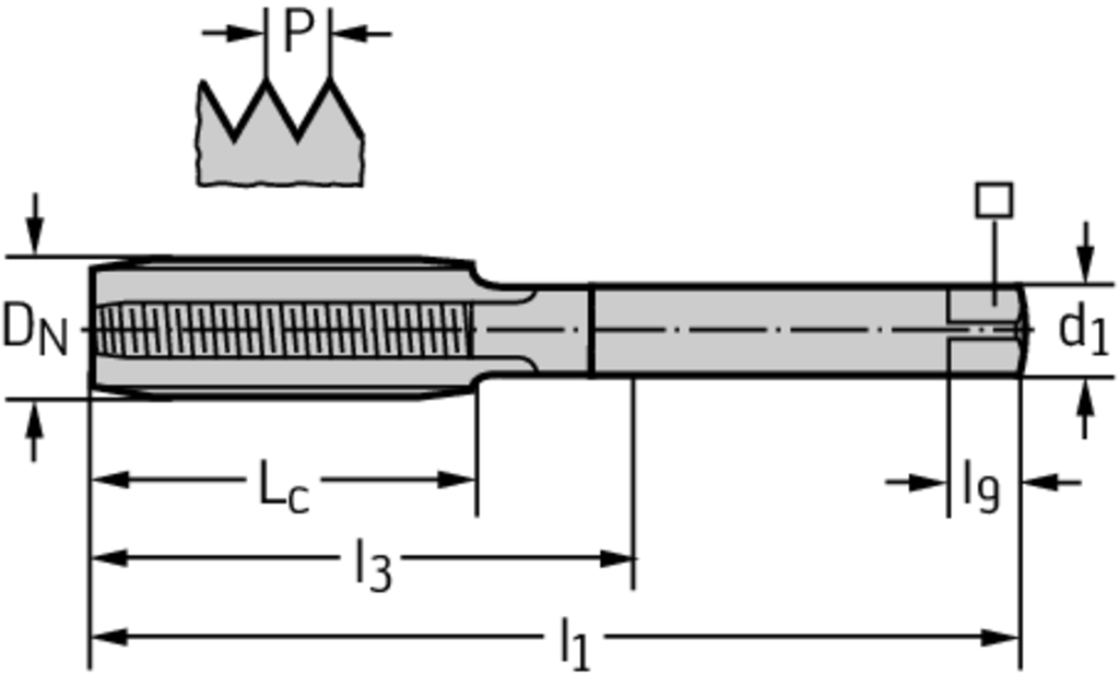
Antal spånkanaler N | 3 |
Anvendelig længde l 3 | 7,8 mm |
fastspændingsbredde | 2,7 mm |
Firkantet længde l 9 | 6 mm |
Forbindelsesdiameter d 1 | 3,5 mm |
Funktionel længde l 1 | 40 mm |
gevindstigning P | 0,5 mm |
Gevindstørrelse D N | M 3 |
Skærlængde L c | 9 mm |