AVN Gruppen
|
AVN Pladeteknik
|
AVN Hydraulik
|
Masytec
Vagttelefon:+45 70 24 45 18
Kundeservice +45 70 20 04 11
Om AVN Teknik
|
Kontakt
Om teknik
Information
Webshop
Industri- og autoværktøj
Værktøjsvogne
Håndværktøj
Luftværktøj / Slager / Tilbehør
Toppe
Værktøjssæt og sortimenter
Skumindlæg
BMCS (kabelhåndteringssystem)
Momentnøgler
Batteri og elværktøj
Skraldenøgler
Vis alle
Slibeteknik
Slibeskiver og tilbehør
Skæreskiver
Roloc / combidisc
Sliberinge,Slibeark og holdere
Slibebånd
Holdere og adaptere
Slibevifter, slibetromler, skaftværktøjer
Rullevarer, smergellærred, scothbrite og holdere
Fræsestifter
Børster
Vis alle
Montageløsninger
Nitter
Produktionsteknik
Walter Drejning
Walter Boring
Walter Gevindskæring
Walter Fræsning
Walter Adaptere
Indbygningsdele og tilbehør
Globe Light Streamline Icon: https://streamlinehq.com
Sprog
Log ind
Kurv
0
Søg efter varegrupper, produkter eller indhold
Webshop
80311-M12
80311-M12
Previous
Next
80311-M12
80311-M12
Pakkestørrelse
1
Forespørg på produkt
Produktforespørgsel
Close product request modal
Information
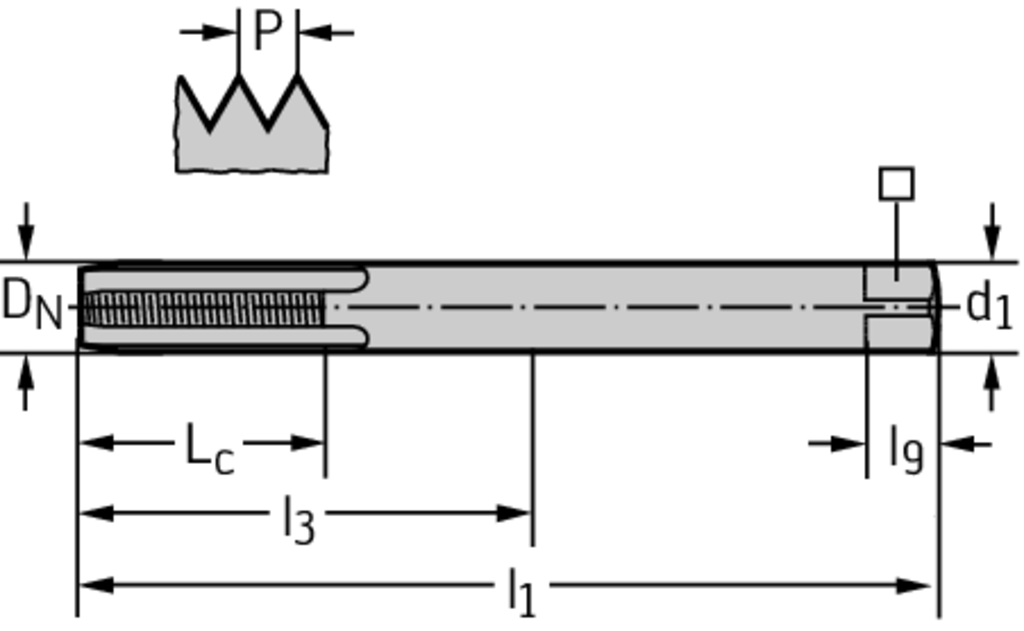
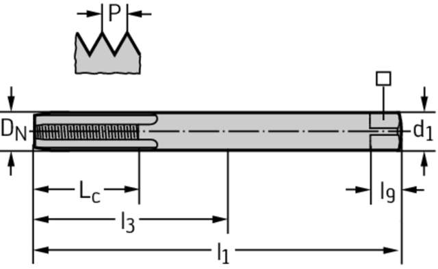
Antal spånkanaler N
3
Anvendelig længde l 3
68 mm
fastspændingsbredde
9 mm
Firkantet længde l 9
12 mm
Forbindelsesdiameter d 1
12 mm
Funktionel længde l 1
110 mm
gevindstigning P
1,75 mm
Gevindstørrelse D N
M 12
Skærlængde L c
36 mm
Favorite list updated