F2139.5.02.060.16
F213950206016
P | M | K | N | S | H | O | |
---|---|---|---|---|---|---|---|
Main application
Additional application
|


Pakkestørrelse
1
Information
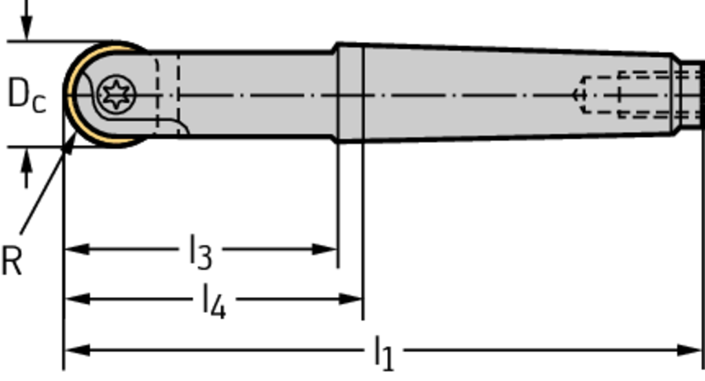
Antal tænder Z | 2 |
Antal vendeplatter Ant WSP | 1 |
Anvendelig længde l 3 | 55 mm |
emnevægt | 0,17 kg |
Hjørneradius r | 8 mm |
Maks. udhæng l 4 | 60 mm |
Samlet længde l 1 | 124 mm |
Værktøjsdiameter D c | 16 mm |